• Pied pour biais, pose bande réglable
  • Pied pour biais, pose bande réglable
  • Pied pour biais, pose bande réglable
  • Pied pour biais, pose bande réglable
10 %

Pied pour biais, pose bande réglable

Article hors stock
En cours de réapprovisionnement

Catégorie :
Marque :

€ 25.90€ 23.31
- +

Shop

Ce produit a été ajouté à votre panier.

Mes produits favoris

Ce produit a été ajouté à vos favoris


Pied pour biais, pose bande réglable industriel


Ce pied-de-biche est utilisé pour coudre rapidement et uniformément un biais pré-plié sur le bord d’un projet. Le biais et le tissu sont guidés le long du bord du pied-de-biche afin de garantir un résultat de couture précis. Il peut également être utilisé uniquement avec du biais pour réaliser des rubans et des boucles.

Pour JANOME : 1600P - 1600P-DBX - 1600P-QC - HD9
Pour BERNETTE : 08 Straight Stitch
Pour BROTHER : PQ1300 - PQ1500 - PQ1600S
Pour JUKI : TL-98 P, TL-2200 QVP Mini, TL-2300 Sumato
Pour PFAFF : Grand Quilter 1200 Sewing Machine
Pour machines à coudre industrielles Jack

Vous avez la moindre hésitation concernant la compatibilité de cet accessoire avec votre machine alors cliquez sur notre outil "Recherchez votre accessoire".

 


Mise en place et fonctionnement

  1. Introduire le biais dans le pied-de-biche. (fig. 1)
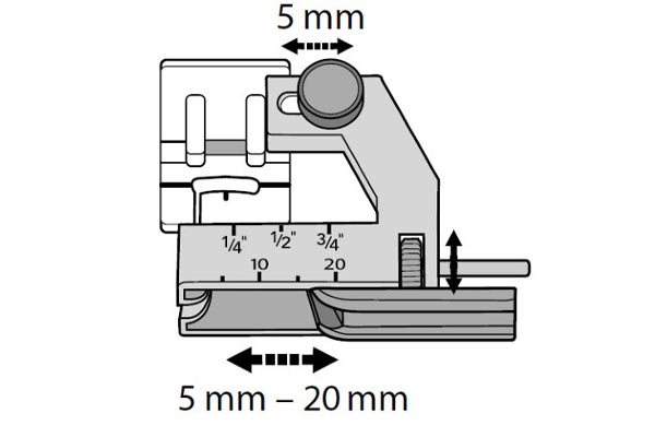
  2. La molette avant (A) permet de régler la largeur du guide de couture en fonction de la largeur du biais (fig. 2)
  3. Monter le pied
  4. Desserrer la vis arrière (a) sur le pied-de-biche et déplacer le guide vers la gauche ou la droite. (fig. 3)
  5. Serrer la vis arrière. (fig. 3)
  6. Lors de la couture, guider le tissu avec la main gauche et le biais avec l'autre main. (fig. 4)
Réglage du pied ourleur réglable Janome - Bernette 08

Réglages de base recommandés

  • Tension du fil : 3 - 5
  • Longueur de point : 0,5 à 4,0
  • Pression du pied-de-biche : 3 à 5
Réglage de la largeur du pied ourleur réglable Janome - Bernette 08
Couture avec le pied ourleur réglable Janome - Bernette 08

Ajouter un avis

Ce site utilise des cookies pour améliorer votre expérience
Téléchargement en cours... Veuillez patienter...